鋰電工廠中應用電柜水冷卻散熱裝置
鋰電工廠中應用電柜水冷卻散熱裝置
鄧斌1,鄧寧2,吳國勇3,陳璟4,周金卿1,5
1 柳州市豪杰特化工機械有限責任公司 技術中心,廣西 柳州 545005;
2 柳州城市職業學院 機電與汽車工程系,廣西 柳州 545036;
3 廣西科技師范學院食品與生化工程學院,廣西 來賓 546100;
4 柳州職業技術學院 機電工程學院,廣西 柳州 545005;
5 柳州蓓蒂芬科技有限公司技術中心,廣西 柳州 545000
摘要:鋰電工廠設備多,安全標準也非常高,電池加工需要使用冷卻散熱裝置,本文介紹了一種電柜水冷卻散熱裝置,包括水箱、循環水泵、外部水冷卻熱交換排組、外散熱風機、內部水冷卻熱交換排組和內吸熱風機,水箱、循環水泵、外部水冷卻熱交換排組和外散熱風機安裝在電柜外部,外部水冷卻熱交換排組位于外散熱風機與電柜之間,內部水冷卻熱交換排組和內吸熱風機安裝在電柜內部,內部水冷卻熱交換排組位于內吸熱風機與電柜之間,水箱與內部水冷卻熱交換排組連通,內、外部水冷卻熱交換排組連通,外部水冷卻熱交換排組與循環水泵連通,循環水泵與水箱連通。本水冷裝置可以避免電控柜內風冷方式帶來的粉塵問題,也可以有效降低電柜溫度,并且制作及使用成本低廉,拆裝方便,能長期在惡劣環境中穩定工作。
0 前言
在化工、電子漿料、涂料、膠粘劑、化妝品、潤滑脂、制藥、食品等眾多行業生產中,物料混合設備的驅動方式主要是以電控柜、配電箱、操作臺為主,其中應用最廣的就是電控柜——控制化工攪拌機,通過柜內放置的變頻器來驅動設備電機轉動;缺點:行業內車間工作環境普遍比較惡劣,粉塵顆粒度很小,且具有導電性及腐蝕性,灰塵、污垢或其他腐蝕性物質等易進入變頻器內,影響變頻器的冷卻通風,同時干擾變頻器內整流橋和IGBT等電元件的正常工作,損壞變頻器。由于工作時間長,一般20小時/天以上運行時間,變頻器在溫度過高的環境中工作會嚴重影響變頻器壽命,重則炸機(發生爆炸)。近年來,隨著超細級及納米級物料的推廣應用,常規控制柜使用風扇散熱,但柜子內外進行熱交換的過程中會將柜外的粉塵帶入柜內,導致整個柜體的密閉性無法很好的保證,難以適應客戶需求,而若運用正壓隔爆式或柜內空調散熱,無論制作成本還是使用成本又相當之高。因此,急需要解決的技術問題是:提供一種能夠克服電柜溫度高、風冷密閉性差及成本高的電柜水冷卻散熱裝置,本水冷裝置可以避免電控柜內風冷方式帶來的粉塵問題,也可以有效降低電柜溫度,并且制作及使用成本低廉,拆裝方便,能長期在惡劣環境中穩定工作。
1 設備優勢
本裝置涉及一種電柜水冷卻散熱裝置,包括水箱、循環水泵、外部水冷卻熱交換排組、外散熱風機、內部水冷卻熱交換排組和內吸熱風機,水箱、循環水泵、外部水冷卻熱交換排組和外散熱風機安裝在電柜外部,外部水冷卻熱交換排組位于外散熱風機與電柜之間,內部水冷卻熱交換排組和內吸熱風機安裝在電柜內部,內部水冷卻熱交換排組位于內吸熱風機與電柜之間,水箱與內部水冷卻熱交換排組連通,內、外部水冷卻熱交換排組連通,外部水冷卻熱交換排組與循環水泵連通,循環水泵與水箱連通。本水冷裝置可以避免電控柜內風冷方式帶來的粉塵問題,也可以有效降低電柜溫度,并且制作及使用成本低廉,拆裝方便,能長期在惡劣環境中穩定工作。
2 設備結構
本電柜水冷卻散熱裝置,包括外部水冷卻熱交換排組、外散熱風機、內部水冷卻熱交換排組和內吸熱風機,所述的外部水冷卻熱交換排組和外散熱風機安裝在電柜外部并固定在電柜上,所述的外部水冷卻熱交換排組位于外散熱風機與電柜之間,所述的內部水冷卻熱交換排組和內吸熱風機安裝在電柜內部并固定在電柜上,所述的內部水冷卻熱交換排組位于內吸熱風機與電柜之間。
該電柜水冷卻散熱裝置還包括有水箱和循環水泵,所述的水箱與內部水冷卻熱交換排組連通,內部水冷卻熱交換排組與外部水冷卻熱交換排組連通,外部水冷卻熱交換排組與循環水泵連通,循環水泵與水箱連通,所述的水箱和循環水泵安裝在電柜外部并固定在電柜上。
所述的外部水冷卻熱交換排組和內部水冷卻熱交換排組是由1-5組水冷散熱裝置構成,所述的1組水冷散熱裝置是由1-8根U型管連通構成,所述的外部水冷卻熱交換排組和內部水冷卻熱交換排組安裝在電柜頂部或電柜側壁。
所述的水冷散熱裝置是采用翅片銅管構成。
所述的外散熱風機和內吸熱風機是由1-8個散熱風扇構成。
所述的內部水冷卻熱交換排組和內吸熱風機通過安裝板Ⅰ安裝在電柜內部,即內部水冷卻熱交換排組和內吸熱風機固定在安裝板Ⅰ上,安裝板Ⅰ固定在電柜上。
所述的外部水冷卻熱交換排組和外散熱風機通過安裝板Ⅱ安裝在電柜外部,即外部水冷卻熱交換排組和外散熱風機固定在安裝板Ⅱ上,安裝板Ⅱ固定在電柜上。
由于采用上述技術方案,本水冷裝置具有以下有益效果:
(1)本水冷裝置對電柜內冷卻效果優于風扇冷卻。本水冷裝置同時設置有內部和外部散熱裝置和風機,采用的一組或多組水冷散熱裝置可以安裝在電柜頂部或左右側面,位置固定,通過水循環泵拖動內外冷卻水循環,以及風扇轉動帶動氣流,使得冷卻系統內外熱交換效率進一步提高。
(2)本發明成本及能耗均低于正壓隔爆式或柜內空調散熱。
(3)解決納米級粉塵從濾網之間進入電柜內部,導致電器元件損壞問題。
(4)結構簡單,裝拆、清洗、維護方便。
(5)密封性好,可惡劣工況條件下工作。
下面,結合附圖和實施例對本水冷裝置之電柜水冷卻散熱裝置的技術特征作進一步的說明。
3 附圖說明
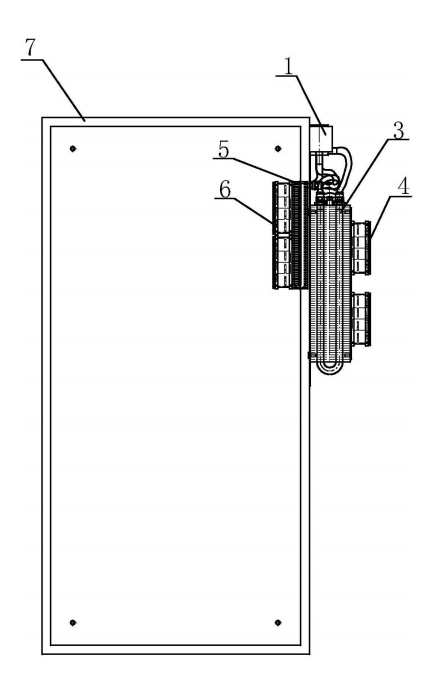
圖1—圖2:安裝有本水冷裝置電柜水冷卻散熱裝置的電柜結構示意圖。
圖1:主視圖,圖2:左視圖。
圖3—圖4:本水冷裝置之電柜水冷卻散熱裝置結構示意圖。
圖3:左視圖,圖4:主視圖。
圖中:1-水箱,2-循環水泵,3-外部水冷卻熱交換排組,4-外散熱風機,5-內部水冷卻熱交換排組,6-內吸熱風機,7-電柜。
4 設備實施方式
實施例1:一種電柜水冷卻散熱裝置,如圖1-圖4所示,包括水箱1、循環水泵2、外部水冷卻熱交換排組3、外散熱風機4、內部水冷卻熱交換排組5和內吸熱風機6,所述的水箱1、循環水泵2、外部水冷卻熱交換排組3和外散熱風機4安裝在電柜外部并固定在電柜上,所述的外部水冷卻熱交換排組位于外散熱風機與電柜之間,所述的內部水冷卻熱交換排組和內吸熱風機安裝在電柜內部并固定在電柜上,所述的內部水冷卻熱交換排組位于內吸熱風機與電柜之間。所述的水箱1與內部水冷卻熱交換排組5連通,內部水冷卻熱交換排組與外部水冷卻熱交換排組3連通,外部水冷卻熱交換排組與循環水泵2連通,循環水泵與水箱1通過管道連通。
所述的外部水冷卻熱交換排組3和內部水冷卻熱交換排組5是由1-5組水冷散熱裝置構成,所述的1組水冷散熱裝置是由1-8根U型翅片管連通構成,所述的外部水冷卻熱交換排組3和內部水冷卻熱交換排組5安裝在電柜頂部或電柜側壁。內外部水冷卻熱交換排組的厚度可根據散熱需要加厚。
所述的外散熱風機4和內吸熱風機6是由1-8個散熱風扇構成。
本水冷裝置同時存在內部吸熱裝置(包括內部水冷卻熱交換排組5和內吸熱風機6)與外部散熱裝置(包括外部水冷卻熱交換排組3和外散熱風機4),對柜內變頻器產生熱量與外部空氣進行熱交換。該兩種裝置可以同時或分別獨立工作,內部吸熱裝置獨立工作時,可外接工廠管道冷卻水。
本水冷裝置可獨立安裝在安裝板上,成套配入電柜側壁或頂部安裝,可采用以下方式安裝:所述的內部水冷卻熱交換排組和內吸熱風機通過安裝板Ⅰ(圖中未畫出)安裝在電柜內部,即先將內部水冷卻熱交換排組和內吸熱風機固定在安裝板Ⅰ上,再將安裝板Ⅰ固定在電柜上。所述的外部水冷卻熱交換排組和外散熱風機通過安裝板Ⅱ(圖中未畫出)安裝在電柜外部,即先將外部水冷卻熱交換排組和外散熱風機固定在安裝板Ⅱ上,再將安裝板Ⅱ固定在電柜上。本水冷裝置也可單獨在電柜上開管線孔安裝固定。
控制柜及本水冷裝置各主要部件功能如下:
(1)控制柜:對柜內與柜外的粉塵進行隔絕,且是水冷散熱裝置安裝的基礎部件。
(2)內吸熱風機:氣流控制器件。將柜內變頻器散發出的熱量進一步集中到水冷排翅片上,使得熱傳導效率更高,并帶動柜內氣流流動,讓柜內溫度更為均衡。
(3)水冷卻熱交換排組:是熱交換介質-冷卻水的容器及熱傳導器。內部排組將風扇帶來的柜內熱量有效的吸收并傳導到導管內的冷卻水中,而后外部的排組將水中的熱量吸收并因為內外溫差(水與空氣),將熱量排放到空氣中去。
(4)循環水泵:串連到水冷排組管道連接件中,向管道內冷卻水提供動力,使得冷卻水可以在水冷排組內部循環。
(5)外散熱風機:氣流控制器件。增強水冷排翅片間的氣流流動性,使外部水冷排與空氣的熱交換性能更好。
(6)水箱:存儲部分冷卻水,放置在整個散熱系統最高點,防止水泵出現吸空現象。
本水冷裝置的運行過程如下:設備運行時,通過循環水泵將冷卻水從水箱中抽取傳送到水冷卻熱交換排組(柜內部分)的管道中,而水冷卻熱交換排組(柜內部分)上的內吸熱風機將變頻器散發出來的熱量吸入水冷卻熱交換排組(柜內部分)上,通過水冷卻熱交換排組(柜內部分)上的翅片和銅管與冷卻水進行熱量交換。此時水冷卻熱交換排組(柜內部分)管道內的水溫上升,后經過水泵提供動力,將溫度上升的冷卻水帶出配電柜,后經水冷卻熱交換排組(柜外部分),冷卻水中熱量傳遞到水冷卻熱交換排組(柜外部分)翅片與銅管上,外散熱風機將熱量帶走散發到空氣中,冷卻后的冷卻水留回水箱。
本發明的散熱裝置還可以將冷卻水更換為油或其它介質。
5 總結
在鋰電工廠中,電池加工需要使用冷卻散熱裝置,本文介紹了一種電柜水冷卻散熱裝置,包括水箱、循環水泵、外部水冷卻熱交換排組、外散熱風機、內部水冷卻熱交換排組和內吸熱風機,水箱、循環水泵、外部水冷卻熱交換排組和外散熱風機安裝在電柜外部,外部水冷卻熱交換排組位于外散熱風機與電柜之間,內部水冷卻熱交換排組和內吸熱風機安裝在電柜內部,內部水冷卻熱交換排組位于內吸熱風機與電柜之間,水箱與內部水冷卻熱交換排組連通,內、外部水冷卻熱交換排組連通,外部水冷卻熱交換排組與循環水泵連通,循環水泵與水箱連通。本水冷裝置可以避免電控柜內風冷方式帶來的粉塵問題,也可以有效降低電柜溫度,并且制作及使用成本低廉,拆裝方便,能長期在惡劣環境中穩定工作。
參考文獻
[1]鄧斌等,柳州市豪杰特化工機械有限責任公司.電柜水冷卻散熱裝置:中國. 201320796704.5[P].
[基金項目]本文獲2016年廣西科技計劃(合同編號:桂科AC16380013,氧化石墨烯的清潔制備工藝研究及在汽車塑料應用性能評價)、2015年廣西高??蒲许椖浚?/span>KY2015YB399,物聯網中數據融合和安全問題關鍵技術研究)的資助。
[作者簡介]鄧斌(1988-),男,漢族,廣西柳州人,機電一體化專業,助理工程師,主要從事電氣液壓設計。
[通訊作者]陳璟(1984—),女,漢族,廣西柳州人,材料加工工程專業碩士,講師,主要從事流體分析CFD、模具優化設計等研究,1936307477@qq.com。


